尊龙凯时 尊龙娱乐 尊龙体育

AG尊龙凯时- 尊龙凯时官方网站- APP下载万顺叫车、斑马快跑网约车司机提现难 聚合平台该如何监管?

发布时间:2026-02-18 19:27:26  浏览:

  尊龙凯时官网,尊龙凯时,AG尊龙凯时,尊龙娱乐,尊龙体育,尊龙凯时人生就是搏,尊龙凯时体育,尊龙凯时平台,ag尊龙,尊龙平台,尊龙,尊龙官网,尊龙登录入口,尊龙官方网站,尊龙app下载,尊龙凯时APP央广网北京10月25日消息(总台中国之声记者任梦岩)据中央广播电视总台中国之声《新闻纵横》报道,近日,万顺叫车和斑马快跑网约车平台的司机通过总台中国之声新闻热线反映,司机们在尝试将乘客支付的车款提现时遇到了困难。

  不少司机去年的提现至今没有到账,询问平台客服,给出的回复总是“再等等”,“正在催促财务”。虽然这两家网约车平台已经被地方交通管理部门多次约谈,但是对消费者来说,依旧可以在各大聚合类平台打到万顺或者斑马的车;对司机来说,只能是继续等待。聚合平台上,出现类似提现困难等问题的网约车企业,究竟应该如何进行有效的监管?

  重庆市开州区网约车司机李师傅已经在万顺叫车平台跑了三年网约车,之前一直能正常提现,但今年5月份1000多元的提现却遇到了问题,一直显示“提款中”,反而是之后六月、七月的钱都能到账。

  李师傅:万顺叫车APP接单都提现到银行卡,5月份提现一直就卡在那里,就到不了账。万顺是平台,它不垫付车费,我APP上面显示的钱就是乘客付了的钱,并不是乘客没有付。

  搜索黑猫投诉平台记者发现,关于万顺叫车的投诉已经超过1000条,从2023年初开始就有司机反映提现不到账的问题。在福建宁德开网约车的孙师傅反映,今年5月份,他有两笔提现无法到账,问了客服好几次,平台都回复“再等等”。

  孙师傅:我开的是5月份的流水,我打了两次(客服),他们说5月份是内部,到现在都快半年了,那谁还跑?辛辛苦苦跑了钱拿不到。

  云南临沧的司机胡师傅告诉记者,他去年7月底和8月份的提现一共2000多元一直没有到账,10月的反而到了。

  云南德宏的司机保师傅也遇到了同样的问题,他去年9月、11月和今年7月的提现都没有到账。

  保师傅:有的时候就给你到,有的时候就不给到,可能你今天提个两千块钱,后天提个四五千块钱,小额的那笔给你,多的那笔又不给你。反馈的话,他们就一直说总部在加急处理,去年到现在都没收到,今年的又有一部分没有到,不止欠我的,反正我们这个城市在跑万顺的大多数都没到账,我的好像有3000多块不到4000(块钱)。

  记者拨打了云南省德宏州交通运输局的电话,工作人员表示,当地很多司机都遇到了提现不到账的问题,他们已经约谈了万顺叫车当地分公司,但问题的解决还需要联系公司。

  营业执照是市场监督(管理)局发的,虽然是网约车,但“无法提现”是它公司的行为,不是说运输市场的问题。上个月我们还约谈了这边的公司负责人,请他们尽快解决问题。

  万顺叫车客服甲:客服查看到您确实多次咨询过该情况,确实抱歉给您带来不便,客服稍后会立即反馈到财务部门,您看可以吗?

  记者再次拨打万顺叫车客服,对方表示,客服也联系不到财务,不知道为什么提现无法到账,只能帮忙催促。

  除万顺叫车外,同样入驻聚合打车平台的武汉斑马快跑科技有限公司也出现了司机无法提现的情况。

  武汉司机李师傅反映,从2023年开始,斑马快跑APP的提现时间变得越来越苛刻,直到最后无法提现。

  李师傅:去年的时候,总是跟我们司机玩套路,提现时间一分钟,今天规定的是到6点提现,过了6:01就不能提了,错过那个点就提不了了,又要等到下个星期,我们老要定闹钟,有的时候一搞就忘记了。

  湖南邵阳的司机刘师傅今年4月的一次高额提现至今没有到账。他说,已经数不清变更了多少次提现时间,提现一直在处理中。

  刘师傅:已经跑了两三年了(斑马快跑)这个平台。4月20号那天,我就把车停到那里,专门来卡的时间点提了6000多块钱,一直没有到账。我总是认为这么大的一个平台公司,不给钱是不可能的。

  斑马快跑平台上的多位司机反映,平台拖欠他们的车费金额从一两百元到几千元不等,公司总部在武汉,武汉的司机如果催促得紧,偶尔也有到账的,但外地司机只能通过电话客服了解情况,得到的答复总是“再等一等”。

  记者也尝试拨打了斑马快跑的客服热线分钟后,客服答复:系统升级,提现要再等等。

  斑马快跑客服:提现没有到账的话,是因为一些系统的问题导致全国的提现没有到账,现在需要手动打款,所以才会慢。我这边再帮您催促一下,首先平台是正常营运的,您如果说不放心不想跑,可以先不跑。

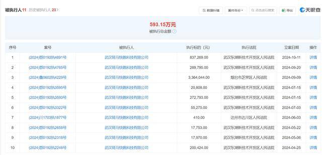
  随后记者和多位司机一起来到武汉斑马快跑总部,发现一楼前台已经无人值守,二楼曾经的斑马运营部门已经搬空,在记者向交通运输部门说明情况后,才有斑马快跑的工作人员出面。对方表示,目前公司资金紧张,已经成了失信被执行人、股权被冻结,但正在筹措资金。

  斑马快跑的工作人员:平台可能是以前有一个历史性的包袱,就是历史性的纠纷欠账,新旧系统做切换可能跟合作商之间有一些争议,不愿意出钱,那么就只好我们总部来出钱,但总部这边暂时还没钱。主要是(牵扯的)城市太多了,尽快凑钱把这个问题处理掉。

  司机先做好登记,如果资金到位则优先打款。这就是现场沟通后,斑马快跑给司机的解决方案。在司机们看来,平台已经从乘客支付的车费中抽取了信息服务费,剩余的车费应当归司机所有,平台无权扣留这部分款项。斑马方面还是回复“再等等”。

  斑马:你把你的信息登记一下,有钱我们先给你们处理。预计可能是这个月底给大家全部到账。

  针对这一问题,记者咨询了多家主流聚合打车平台,腾讯对此表示,“根据交通运输部等五部门发布的《关于切实做好网约车聚合平台规范管理有关工作的通知》,聚合平台不能直接参与网约车司机的管理工作,包括定价或提现等事务。司机提现问题涉及的是网约车平台与司机之间的管理问题。聚合平台的责任主要体现在监管服务商的合规运营上,例如检查是否具备当地的运营牌照、车辆及人员资质等。”

  高德表示,他们对合作伙伴的合规经营审核一直按行业法要求开展。斑马快跑的情况,他们与企业、行业主管部门也保持着沟通,并了解到问题正在逐步解决过程中。作为合作伙伴,公司也在催促斑马快跑积极稳妥处理,并保障司机合法权益。

  对于网约车平台司机提现难的情况,有的地方行业监管部门向司机发出过预警。例如,今年3月,湖南省邵阳市交通运输局向各网约车公司发出预警提示,要求提醒驾驶员在提现问题解决之前不要接斑马的订单,以避免利益受损。同时,对斑马快跑、万顺叫车平台就提现问题进行约谈,督促尽快解决问题。

  斑马快跑总部所在地的武汉市交通运输局工作人员则表示,公司资金出了问题,他们正在督办。“我们一直在集中处理这个事情。我们也多次联系了公司,公司这边也的确是资金方面有一定问题,但是他这边也是在慢慢排队给大家提现中,这个工作我们也一直在做,我们也会尽快督办,但是可能会有一定的时间。”

  以重庆市为例,用户使用高德、百度等聚合打车APP叫车,在当地有30多家不同的快车平台可供选择,面对眼花缭乱的打车平台,如何确保他们的合规经营?一旦出现司机提现难等问题,地方交通管理部门与聚合平台之间,又该如何联动?

  东南大学交通法治与发展研究中心执行主任顾大松解释,如今多地已经将网约车聚合平台定义为电子商务平台,网约车企业相当于入驻商家,一旦司机与网约车企业出现纠纷,聚合平台往往不进行介入,而由于金额少、流程复杂等原因,司机通过司法程序解决问题的意愿也较低。目前来看,像邵阳市交通运输局发布预警提示,监管部门与聚合平台之间的联动、对违规网约车企业进行公示,也许是预防此类问题恶化的一种方式。

  顾大松说:“去诉讼(的话),从成本角度来讲,司机基本上是很难去弄这个事儿的,但是现在的确有一些路径是可以考虑的,因为平台它都是全国展业的,加强信息和信用的监管方式的使用,比如当发现有司机投诉平台时,主管部门可以受理投诉,核实后即使无法解决,也可以将投诉的类型和被投诉的平台及时发布。例如,某个平台发生了多少起投诉,发生频率最高的,可以将这些信息公开。这实际上已经形成了一种新型的监管方式。”

  顾大松建议,在交通主管部门公布信息后,相关的聚合平台的自我监管也应该跟上,主动将违规网约车平台进行标识、直至下架。

  “订单量中聚合平台已经占30%左右了,对这些平台的治理,要依托它来发挥积极的作用。其实在这类纠纷中,投诉多的入驻平台是不是应该有一个显著标识?或者是下架?现在有些地方已经对有一些没有线下(运营)能力的平台,让聚合平台直接给它下架处理,我想对它的影响也是比较大的。”顾大松建议。